PW G
Скребковая манжета, PW-G
Рабочие среды:
Минеральное масло
Температура min:
-30 °C
Температура макс:
80 °C
Материал:
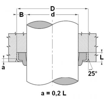
(1) втулка: Сталь
(2) скребковая манжета: Полиуретан
Свойства
| Рабочие среды | Минеральное масло |
| Температура min | -30 °C |
| Температура макс | 80 °C |
| Материал | (1) втулка: Сталь (2) скребковая манжета: Полиуретан |
| Применение | Гидравлика |
| Монтаж | впрессовывается в открытый паз |
| Скорость скольжения макс | 0.8 m/s |
- Описание
Компактные размерывысокая стойкость к истираниюПростое решение.
Варианты изделия
Просмотренные позиции
* Несмотря на тщательную проверку мы не можем исключить наличие ошибок и не несем ответственность за содержащуюся в них информацию.
Требуется техническая поддержка?
Звоните нам
Или отправьте заявку онлайн
+7 (495) 642-40-03


